Connect with us

Hi, what are you looking for?

  1. Home
  2. /
  3. Photo
  4. /
  5. Canon patents for 35mm...

Photo

Canon patents for 35mm F1.2 and 12mm F1.2 lenses

Canon patents for 35mm F1.2 and 12mm F1.2 lenses
Canon patents for 35mm F1.2 and 12mm F1.2 lenses

The Canon RF 35mm f/1.2L USM has been on the RF optics roadmap for a long time, almost since the introduction of the system. And a patent for it, among others, appeared 2 years ago, but the lens was never released.

Now, the Asobinet resource has information about two new patents describing the optical design of lenses, including 1.2 / 35.

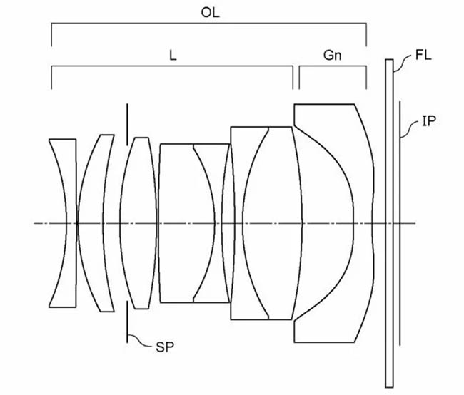
Canon 35mm f/1.2

 

  • Focal Length: 33.53mm
  • Aperture: F/1.30
  • Half FOV: 32.83°
  • Image Height: 21.64mm
  • Overall length: 61.97mm
  • Back focus: 0.29mm

The same patent also shows a fast ultra wide-angle prime lens with the same short back focus distance.

Canon 12mm f/1.2

  • Focal Length: 12.40mm
  • Aperture: F/1.30
  • Half FOV: 32.82°
  • Image height: 8.00 mm
  • Overall length: 21.76mm
  • Back focus: 0.44mm

* * *

In the description of the optical formulas, the f / 1.3 aperture appears, but if they reach real products, they will most likely be rounded up to the usual f / 1.2 or f / 1.4.
Something else is more interesting. If you paid attention, the description gives extremely small back focus values ​​​​for both lenses (0.29 and 0.44 mm), which casts doubt on the possibility of their use with consumer cameras. Most likely, this is still optics for industrial cameras with a special mechanism for bringing the lens closer to the sensor to the working distance after installation on the camera.

Rate this product

Average rating 0 / 5. Vote count: 0

You May Also Like

Mobile

Xiaomi has officially kicked off the rollout of HyperOS 3, its latest Android-16-based custom operating system, marking the next stage in the company’s long-running...

Speakers

If you’ve been searching for a speaker that doesn’t just play music but transforms your entire party into a full-blown concert experience, the JBL...

TV

TCL has long been known for making TVs that give you more for your money, and the T8C series is no exception. It combines...

TV

The TCL C9K isn’t just about size—it’s about performance. With blistering brightness, refined contrast, solid audio, and a full suite of modern features, this...

TV

The LG UA73 isn’t a showstopper, but it nails the essentials: sharp 4K, smooth streaming, and fast gaming at a fair price

Mobile

Apple’s iPhone 17 lineup is one of the most unusual in recent years. Instead of continuing with the “Plus,” Apple has introduced a brand-new...

TV

The TCL V6C series is TCL’s latest attempt to deliver affordable QLED televisions with solid performance for everyday use. Targeted at budget-conscious buyers who...

TV

The Philips OLED800 series has long been the brand’s answer to LG’s popular C-series, combining top-tier OLED picture quality with a more affordable price...

TV

If you’ve ever dreamed of turning your living room into a personal cinema, Xiaomi’s latest XXL television might be the ticket. The Xiaomi TV...

TV

8Panasonic is best known for its premium OLED televisions—designed for home cinema enthusiasts and often priced accordingly. But the new Panasonic W85B series aims...

Speakers

Samsung’s Q-Series soundbars have always been about bringing cinematic sound into the living room without the hassle of a full speaker system. The Samsung...

Headphones

Sennheiser has launched the HD 500 BAM boom microphone, transforming HD 500 series headphones into a premium gaming headset with crystal-clear voice quality and...